 
[±â¼úºÐ¾ß]
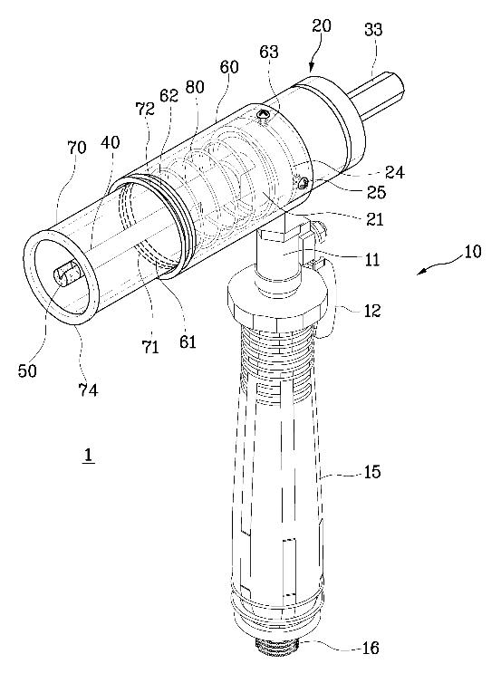
º» ¹ß¸íÀº Çܸӵ帱 °áÇÕ¿ë õ°øÀåÄ¡¿¡ °üÇÑ °ÍÀ¸·Î¼, ´õ¿í »ó¼¼ÇϰԴ Çܸӵ帱¿¡ °£ÆíÇÏ°Ô °áÇÕÇÏ¿© º®À̳ª õÁ¤µî¿¡ ±¸¸ÛÀ» õ°øÇÒ ¶§, ºÐÁø¹ß»ý ¹× Áøµ¿¹ß»ýÀ» ÃÖ¼ÒÈÇÏ¿© ½Å¼ÓÇÑ Ãµ°øÀÌ °¡´ÉÇϵµ·Ï ÇÏ´Â Çܸӵ帱 °áÇÕ¿ë õ°øÀåÄ¡¿¡ °üÇÑ °ÍÀÌ´Ù.
[¹è°æ±â¼ú]
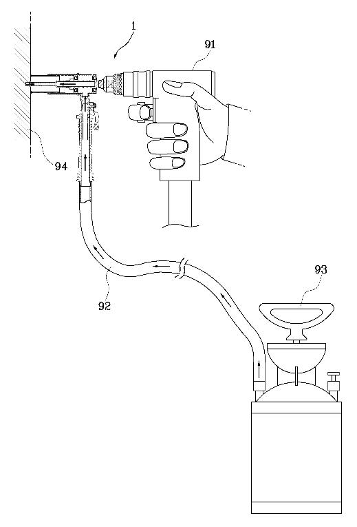
ÀÏ ¹ÝÀûÀ¸·Î °¡Á¤ ¹× °øÀåÀÇ °Ç¹°À» ¿Ï°øÈÄ »ç¿ëÀÚÀÇ Çʿ信 ÀÇÇÏ¿© ¿¡¾îÄÁ µî ¹è°üÀÌ ¼³Ä¡µÇ°Å³ª Àü±âÀÇ »ç¿ëÀ¸·Î ÀÎÇÏ¿© ¹è¼±À» ¼³Ä¡ÇÒ ¶§ ±× ¼³Ä¡ ±æÀ̸¦ ÃÖ¼ÒÈÇϱâ À§ÇÏ¿© º®À̳ª õÁ¤ µî¿¡ ±¸¸ÛÀ» õ°øÇϰí ÀÖÀ¸¸ç »ó±â ±¸¸ÛÀ» ½Å¼ÓÇÏ°í °£ÆíÇÏ°Ô Ãµ°øÇÒ ¼ö ÀÖ´Â ÀåÄ¡°¡ Àý½ÇÈ÷ ¿ä±¸µÇ°í ÀÖ´Â ½ÇÁ¤ÀÌ´Ù.
Á¾ ·¡¿¡´Â º®À̳ª õÁ¤µî¿¡ ±¸¸ÛÀ» õ°øÇÒ ¶§¿¡ ºñÆ®¸¦ »ç¿ëÇÔÀ¸·Î½á, ¸¹Àº ü·ÂÀÌ ¼Ò¸ðµÇ°í ÀÛ¾÷ÀÌ À§ÇèÇÒ »Ó¸¸ ¾Æ´Ï¶ó, õ°øµÈ ±¸¸ÛÀÇ Çü»óÀÌ ºÒ±ÔÄ¢ÇÏ¿´À½Àº ¹°·Ð, ¼ÒÀ½°ú ºÐÁøÀÌ ¸¹ÀÌ ¹ß»ýÇϰí, ºÐÁøµîÀÌ ºñ»êµÇ¾î ÀÛ¾÷ÀÚÀÇ È£ÈíÀå¾Ö¸¦ ¹ß»ý½ÃŰ´Â µîÀÇ ¹®Á¦Á¡°ú, õÁ¤°ú °°Àº °÷Àº õ°øÀÛ¾÷À» ÇÏ´Â °Í ÀÚü°¡ ¾î·Æ´Ù´Â ¹®Á¦Á¡ÀÌ ÀÖ¾ú´Ù
|